您的當前位置:首頁 > 產品知識 > 更多產品知識 > 干式自磨系統——濕式自磨系統實例
作者:紅星機器 發布時間:2019-04-08 08:45:15
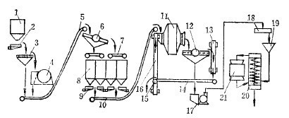
根據多年實踐經驗紅星機器做出的一段閉路濕式自磨系統。如下圖所示。

物合并,用帶式輸送機5送至貯礦倉8。為了給自磨機配礦,在貯礦倉8上設有重型振動篩6,將粗碎后的原礦分成為350~100毫米與100~0毫米兩個級別(即人工配比),分別用可逆帶式運輸機7卸入貯礦倉8內。存于礦倉內的礦石由電振給礦機19按比例給至集礦帶式運輸機10,輸送到自磨機11內。自磨機與直線振動篩12構成半閉路循環,自磨機的排礦經直線振動篩12分級后,篩上產物在由三條帶式運輸機13、14、16返回自磨機的過程中,在第二條帶式運輸機14的首輪處安有磁滑輪15,篩上產物被分成為磁性產物和非磁性產物,磁性產物返回自磨機再磨,非磁性產物接近尾礦品位,故丟棄。直線振動篩的篩下產物用泵17揚至礦漿分配器18,經永磁磁力脫水槽19脫泥后自流至第二磨礦段,第二磨礦段為螺旋分級機20作預先檢查分級與格子型球磨機21, 組成的閉路循環。分級溢流細度為80%~200目,為自磨系統的合格產物。

如果您想了解我們的產品,可以隨時撥打我公司的銷售熱線或點擊咨詢!![]()
推薦閱讀
TOP169鄂破機價格及型號參數鄂破機
TOP257鄂破機一小時能產多少噸物料鄂破機
TOP3時產1000噸石料生產線設備有哪些?多少錢?石料生產線價格
TOP4140圓錐破時產多少石子圓錐破 圓錐破碎機
TOP5小型碎沙機多少錢一臺?碎石機
TOP6一套碎石機大概需要多少錢碎石機
TOP7生產雷蒙磨粉機(雷蒙磨)的廠家磨粉機
TOP8每小時產200噸的石子破碎機多少錢一臺?破碎機
TOP969破碎機一小時處理多少立方石子?破碎機 69顎式破碎機
TOP101060顎破型號有哪些?什么價?顎破 顎式破碎機
TOP11時產500噸石子生產線配置方案_廠家報價生產線
TOP12銷量較好的雷蒙磨粉機型號有哪些雷蒙磨粉機
換一換 ![]()
想讓資深工程師為您設計生產方案?想獲取全套設備優惠報價單?請留言,專業經理即刻開始為您一對一服務!(不用擔心信息泄露,我們將為客戶提供信息保密服務!)
來廠考察即可獲取資深工程師為您設計方案
多機型現貨可選,簽訂合同,2天內發出
售后團隊親臨現場,指導設備安裝、試車,完成交付
跟蹤砂場運營情況,提供生產運營指導,保障砂場快速盈利
河南紅星礦山機器有限公司 總部地址:中國鄭州高新技術產業開發區檀香路8號
工程師免費設計方案已有162位獲得心儀的方案
算一算 搭配一條合適的生產線需要多少錢?
點擊獲取報價